아마존닷컴, 예상배송 서비스
5ch VIP 개그 - 2014-01-23 13:0174
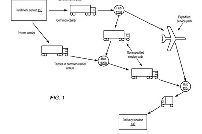
· 미 아마존, 주문 전 상품 배송 서비스 검토 중
미국 월스트리트 저널 계열 'Digits' 는 지난 17일(현지 시간) 미국 아마존이 취득한 특허 정보를 바탕으로
아마존이 "고객이 상품을 구매하기 전에 상품을 배송하는 서비스"를 검토 중이라고 밝혔다.
무슨 말인지 이해가 어려운 말이지만, 상품에 배송속도에 대해 고심하던 아마존 측에서는 꽤 진지하게
접근하고 있습니다.
구체적으로는 사용자가 상품을 검색하던 시간과 마우스 커서의 체류시간(예를 들어 구매 버튼 등을 누르거나
누를지 말지 고민한 시간 등), 과거 구매 내역을 바탕으로 "구매 가능성의 여부"를 판단하는 것입니다.
바로 빅 데이터의 활용이라고 할 수 있는 이 방법을 통해 예측해서 미리 상품을 발송하자는 것입니다.
또한 출하된 상품은 사용자가 거주하는 지역의 거점 또는 운송차량 등에 보관하는 것입니다.
가까운 미래에, 주문한지 30분 만에 물건을 배송받는 날이 올 지도 모릅니다.
75
>>74
제정신이 아닌 거 같다.
운송비용이나 실제 구매로 이어지지 않는 경우의 낭비 같은걸 생각해보면 머리가 아플 지경
76
>>74
이거야말로 미국이다.
지금이나 옛날이나 이런 미친 짓을 태연히 실행하는 거w
이런걸 실제 실행으로 옮길 재력이 있다는거에 힘이 빠진다
77
나름 과장해서 말하고 있지만 솔직히 이미 이건 편의점의 매입 시스템하고
큰 차이가 없어.
거기에 덧붙여서 매일 같은 물건을 구입하는 아줌마를 본 순간 그 상품 근처로
미리 가서 집어주는 동네 마트 베테랑 점원 같은 거야.
78
>>77
아! 그래서 다른 상점에 가면 없는 "특선! 50대 아줌마" 같은 잡지가 내가 자주 가는 단골 편의점에는
맨날 딱 한권 남아있는거구나.
· 미 아마존, 주문 전 상품 배송 서비스 검토 중
미국 월스트리트 저널 계열 'Digits' 는 지난 17일(현지 시간) 미국 아마존이 취득한 특허 정보를 바탕으로
아마존이 "고객이 상품을 구매하기 전에 상품을 배송하는 서비스"를 검토 중이라고 밝혔다.
무슨 말인지 이해가 어려운 말이지만, 상품에 배송속도에 대해 고심하던 아마존 측에서는 꽤 진지하게
접근하고 있습니다.
구체적으로는 사용자가 상품을 검색하던 시간과 마우스 커서의 체류시간(예를 들어 구매 버튼 등을 누르거나
누를지 말지 고민한 시간 등), 과거 구매 내역을 바탕으로 "구매 가능성의 여부"를 판단하는 것입니다.
바로 빅 데이터의 활용이라고 할 수 있는 이 방법을 통해 예측해서 미리 상품을 발송하자는 것입니다.
또한 출하된 상품은 사용자가 거주하는 지역의 거점 또는 운송차량 등에 보관하는 것입니다.
가까운 미래에, 주문한지 30분 만에 물건을 배송받는 날이 올 지도 모릅니다.

75
>>74
제정신이 아닌 거 같다.
운송비용이나 실제 구매로 이어지지 않는 경우의 낭비 같은걸 생각해보면 머리가 아플 지경
76
>>74
이거야말로 미국이다.
지금이나 옛날이나 이런 미친 짓을 태연히 실행하는 거w
이런걸 실제 실행으로 옮길 재력이 있다는거에 힘이 빠진다
77
나름 과장해서 말하고 있지만 솔직히 이미 이건 편의점의 매입 시스템하고
큰 차이가 없어.
거기에 덧붙여서 매일 같은 물건을 구입하는 아줌마를 본 순간 그 상품 근처로
미리 가서 집어주는 동네 마트 베테랑 점원 같은 거야.
78
>>77
아! 그래서 다른 상점에 가면 없는 "특선! 50대 아줌마" 같은 잡지가 내가 자주 가는 단골 편의점에는
맨날 딱 한권 남아있는거구나.

워아밍 (2014-01-23 13:01)
1등